Gear Couplings TNZ ZCAZ / TNZ ZCBZ | RINGFEDER®

Standard hubs and spacer

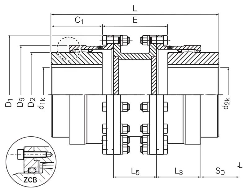
The coupling model RINGFEDER® TNZ ZCAZ is complemented with a spacer that is mounted between the sleeves of a TNZ ZCA coupling by using fitted bolts. The spacer serves to accommodate larger distances between the shafts ends, and can be mounted and dismounted radially without having to move the connected machines.

Unlike the TNZ ZCAZ, the coupling RINGFEDER® TNZ ZCBZ is equipped with a bolt-on O-ring carrier which facilitates installation by changing the mounting sequence. The coupling model TNZ ZCBZ is complemented with a spacer that is mounted between the sleeves of a TNZ ZCB coupling by using fitted bolts.

Technical Data & CAD Models

You require CAD data for this TNZ type? Of course, we are more than happy to provide you with these. Contact us quickly and easily via our request form, by e-mail or using the "Need Help?" feature at the bottom right of this site.

CAD
Größe/Size
Bezeichnung / Identifier
ZCA

TKN
Nm
TKmax
Nm
nmax
1/min
d1kmin
mm
d1kmax
mm
D1
mm
D6
mm
Lmin
mm
Gwsb
kg
69 XC4106 1750 3500 On request 12 50 111 81,5 153 Depending on E
85 XC4108 2750 5500 On request 18 60 152 103,5 193 Depending on E
107 XC4110 5500 11000 On request 28 75 178 127,5 239 Depending on E
133 XC4113 8500 17000 On request 40 95 213 156 281 Depending on E
152 XC4115 13500 27000 On request 50 110 240 181 333 Depending on E
179 XC4117 22000 44000 On request 60 130 280 209 388 Depending on E
209 XC4120 35000 70000 On request 70 155 318 245,5 428 Depending on E
234 XC4123 43000 86000 On request 85 170 346 274 466 Depending on E
254 XC4125 68000 136000 On request 95 190 389 307 552 Depending on E
279 XC4127 82000 164000 On request 110 210 425 334,5 608 Depending on E
305 XC4130 150000 300000 On request 120 230 457 366 648 Depending on E
355 XC4135 195000 390000 On request 130 270 527 423 734 Depending on E
CAD Größe/Size
Bezeichnung / Identifier
ZCA

TKN
ft-lbs
TKmax
ft-lbs
nmax
rpm
d1kmin
inch
d1kmax
inch
D1
inch
D6
inch
Lmin
inch
Gwsb
lbs
  69 XC4106 1291 2581 On request 0.472 1.969 4.370 3.209 6.024 0Depending on E
  85 XC4108 2028 4057 On request 0.709 2.362 5.984 4.075 7.598 0Depending on E
  107 XC4110 4057 8113 On request 1.102 2.953 7.008 5.020 9.409 0Depending on E
  133 XC4113 6269 12539 On request 1.575 3.740 8.386 6.142 11.063 0Depending on E
  152 XC4115 9957 19914 On request 1.969 4.331 9.449 7.126 13.110 0Depending on E
  179 XC4117 16227 32453 On request 2.362 5.118 11.024 8.228 15.276 0Depending on E
  209 XC4120 25815 51630 On request 2.756 6.102 12.520 9.665 16.850 0Depending on E
  234 XC4123 31716 63431 On request 3.346 6.693 13.622 10.787 18.346 0Depending on E
  254 XC4125 50155 100310 On request 3.740 7.480 15.315 12.087 21.732 0Depending on E
  279 XC4127 60481 120961 On request 4.331 8.268 16.732 13.169 23.937 0Depending on E
  305 XC4130 110636 221271 On request 4.724 9.055 17.992 14.409 25.512 0Depending on E
  355 XC4135 143826 287652 On request 5.118 10.630 20.748 16.654 28.898 0Depending on E

Product Characteristics

General features

  • Torsionally rigid gear coupling made of high-quality steel
  • Very compact design results in a high-power density
  • Compensates for angular, radial and axial shaft offset
  • Suitable for use in temperatures up to +120 °C if special seals are used
  • Available with split sleeve (ZCA / ZCB - ZCA model range also available in ZCB design) and single-piece sleeve (ZCH)
  • The elastic O-Ring can be replaced without having to move the coupled machines
  • Bores up to 270 mm
  • Torques up to TKn = 195,000 Nm / TKmax = 390,000 Nm
  • Speeds up to nmax = 6,000 rpm

General description

The RINGFEDER® TNZ coupling is a torsionally rigid twin cardanic gear coupling.

Toothing

The coupling housings have a straight internal toothing whilst the hubs have an external toothing with a chased variable radius. As a result, the hubs can move spatially within the housing and thus compensate angular, radial and axial shaft misalignment of the adjoined shaft ends within specified tolerances. Depending on coupling type and size, the standard toothing permits an angular misalignment of up to 0.5 degrees per toothing-plane and an axial movement of several millimetres. The max. possible radial shaft displacement is dependent on the distance between the two toothing planes. Other toothing geometries can be used for further specific applications.

Materials

High-grade tooth profiles and grease with ultra high-pressure additives guarantee low-restoring forces and a long serviceable life. The material used is forged steel with an apparent yielding point of at least 335 N/mm2. Special materials can be used for further specific applications. Sealing is carried out using O-Rings of synthetic rubber. The housings are centred and held together by fit-bolts and self-locking nuts.

Temperature

The use of special seals permits the temperature limit to be raised to 120 °C.

Balance

At peripheral speeds upwards of 30 m/s it is advisable to dynamically balance the coupling.

Special applications

If greater misalignments are anticipated at higher speeds and torques, an examination is necessary, performed with the assistance of a special computing programme. This is independent of the determined size. The value TKmax may not be exceeded in any state of operation (start-up, electrical short circuit, blocking, etc.).

Tolerances and standards

The bore tolerance is ISO H7, if not differently ordered. The bore diameters listed refer to keyways to DIN 6885-1.

 

Downloads

Product Paper Gear Couplings RINGFEDER® TNZ

Product Paper Gear Couplings RINGFEDER® TNZ

Tech Paper Gear Couplings RINGFEDER® TNZ ZCAZ / TNZ ZCBZ

Tech Paper Gear Couplings RINGFEDER® TNZ ZCAZ / TNZ ZCBZ

Further downloads including certificates, instruction manuals and product images are available to you in our Download Center:

Downloads